为深化产教融合,培养高素质应用型人才,3月21日至22日,经管学院成功承办2026年全国企业竞争模拟大赛校级选拔赛。本次赛事采用线上模拟经营形式,吸引全校12个学院35支队伍、近百名学生参赛,为我校学子搭建了理论联系实际、锤炼综合能力的创新实践平台。
赛前,各参赛团队围绕战略规划、生产运营、市场分析、风险管控等核心模块开展系统性备赛,通过多轮模拟推演优化经营方案。比赛过程中,选手们展现出扎实的专业功底与高效协作能力,面对市场波动、资源调配等复杂挑战,凭借精准数据分析与快速决策响应,充分彰显了农大学子的实战素养。
本次大赛深度践行"以赛促学、以赛促练、以赛促创"育人理念,通过企业真实经营场景的沉浸式体验,推动经管类专业知识与实践应用的有机融合。赛事有效提升了学生的战略思维、数据决策与团队协作能力,为学校构建"理论-实践-创新"三位一体的人才培养体系注入新动能,助力培养适应数字经济时代需求的复合型人才。
企业决策赛道(本科生组)

企业决策赛道(研究生组)

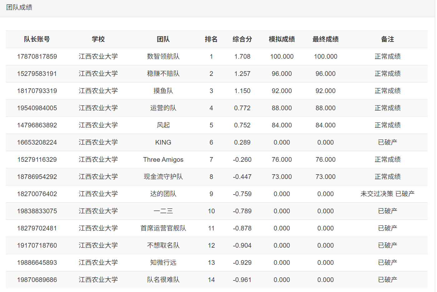
企业运营赛道
